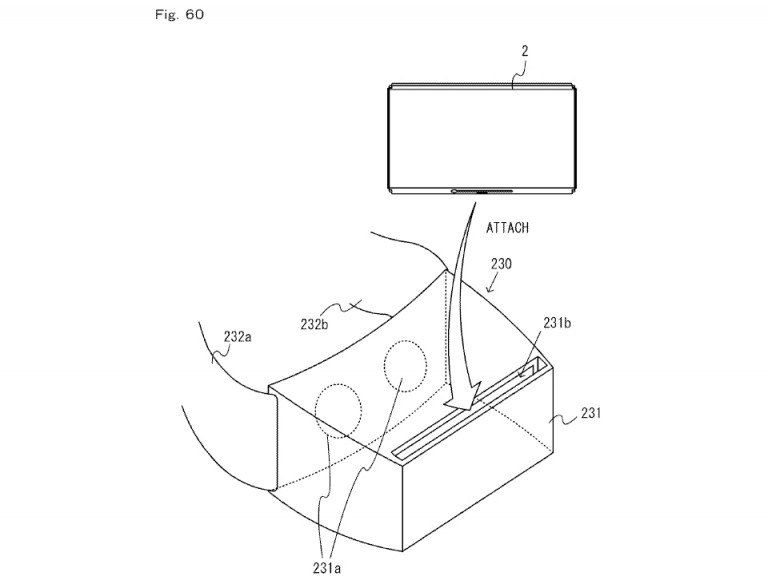
Le mois dernier, un dépôt d’un brevet datant du 15 décembre aux États-Unis a révélé un potentiel casque de réalité virtuelle pour la Nintendo Switch (voir image ci-dessous). Un accessoire très proche des casques VR de Google et Samsung. L’écran de la console se glisse en effet dans le casque, les lentilles créant l’effet 3D. Aujourd’hui, Liam Robertson indique que la Switch disposerait bien d’un casque VR, il n’y croyait pas au début mais il assure qu’il est bien réel. Début de réponse le 13 janvier ?
Nintendo does have a VR shell for the Switch kicking around. To me, it sounded too bizarre to be real, but it is.
— 🐝am Robertson (@Doctor_Cupcakes) 5 janvier 2017








